|
|
首頁-水環式真空泵型號-SZ型水環式真空泵SZ型水環式真空泵
一、SZ型水環式真空泵用途及規格:
SZ型水環式真空泵及壓縮機是用來抽吸或壓縮空氣和其它無腐蝕性不溶于水的氣體,以便在密閉的容器中形成真空和壓力。
SZ型水環式真空泵有SZ-1、SZ-2、 SZ-3及 SZ-4四種規格,SZ型水環式真空泵所形成的最大真空度分別在86~95%之間。SZ-1及 SZ-2所能形成的最大壓力為1.0~1.4公斤/厘米2,SZ-3及SZ-4在所配電動機功率容許下的最大壓力為1.5公斤/厘米2,若增加電動機功率,最大壓力為2.1公斤/厘米2。
二、SZ型水環式真空泵型號說明:

三、SZ型水環式真空泵結構說明:
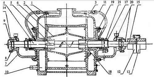
SZ型水環式真空泵的結構如圖所示: SZ型水環式真空泵由泵體(1)及兩個側蓋(2)(3)所組成(圖3及圖4)側蓋下部有泵腳(a)支撐(圖2),在上部是兩管子即進氣管(c)和排氣管(f),這兩個管子通過側蓋上的吸氣孔(d)及排所孔(g)與泵腔相連,泵體上的進氣管與排氣管和側蓋上的吸氣孔及排氣孔相通,軸(4)偏心地安裝在SZ型水環式真空泵體中,葉輪(6)用鍵(5)固定于軸上。葉輪與側蓋之間的間隙,用泵體和側蓋間的墊來調整總間隙,用軸套(17)推動葉輪,從而調整葉輪兩端的間隙。此間隙決定氣體在泵內由進氣口至排氣口流動中損失的大小。
| 1 |
泵體 |
7 |
軸承瓦架 |
13 |
電機聯軸器 |
| 2 |
后蓋 |
8 |
滾珠軸承 |
14 |
軸承蓋 |
| 3 |
前蓋 |
9 |
園螺母 |
15 |
鍵 |
| 4 |
泵軸 |
10 |
|
16 |
定位圈 |
| 5 |
平鍵 |
11 |
|
17 |
軸套 |
| 6 |
葉輪 |
12 |
泵聯軸器 |
18 |
填料壓蓋 |
SZ型水環式真空泵填料函配備在示兩側蓋(2)(3)內,在填料后面,有一個水室,水由管子(11)進入此室,一部分水通過填料冷卻填料函,另一部分進入泵體,在離心力的作用下沿葉片端面流動而充滿于整個葉輪和側蓋之間。滾珠軸承(8)用圓螺母(9)固定在軸上。在側蓋側壁上(圖2)排氣孔(g)下面有幾行圓孔(e)有橡皮閥(球形)關閉,這些孔的得作用是當時輪葉片間的氣體壓力達到排氣壓力時,在排氣口以前就將氣體自動放出,因此就減少了因氣體壓力過大而消耗的功率。SZ-1及SZ-2的結構圖(圖3)所示,其與SZ-3及SZ-4結構(圖4)不同之處是:進、排氣管分別在兩個側蓋上,一根管與進氣口相通,一根管與排氣口相通,泵內無橡皮閥。進氣管(10)與氣水分離器聯在一起供給泵所需要的循環水,為了使泵腔的兩端面間隙和填料得到很好的密封,必須由水封管(11)不斷地供給干凈的冷水。在聯軸器端為了不使軸承內油外漏,因此裝有毛氈圈(20)來密封。

| 1 |
泵體 |
7 |
軸承瓦架 |
13 |
電機聯軸器 |
| 2 |
后蓋 |
8 |
滾珠軸承 |
14 |
軸承蓋 |
| 3 |
前蓋 |
9 |
園螺母 |
15 |
鍵 |
| 4 |
泵軸 |
10 |
|
16 |
定位圈 |
| 5 |
平鍵 |
11 |
|
17 |
軸套 |
| 6 |
葉輪 |
12 |
泵聯軸器 |
18 |
填料壓蓋 |
四、SZ型水環式真空泵工作原理:
如圖1所示,葉輪①偏心地裝在SZ真空泵體②內,起動時向泵內注入一定高度的水,
因此當葉片輪旋轉時,水受離心力的作用而在SZ真空泵壁上形成-旋轉水環③,水環上部內表面與輪轂相切,沿箭頭主向旋轉,在前半轉的過程中,水環內表面逐漸與輪轂脫離,因此在葉輪葉片間形成空間并逐漸擴大,這樣就在吸氣口吸入空氣;在后半轉的過程中,水環的內表面漸漸與輪轂靠近,葉片間的空間容積隨著縮小,葉片間的空氣因此被壓縮而排出。
如此葉輪每轉動一周,葉片間的空間容積改變一次,每個葉片間的水好像活塞一樣往復一次,SZ型水環式真空泵就連續不斷地抽吸氣體。 由于在工作中,水會發熱,同時一部分水會和氣體一起被排走,因此SZ型水環式真空泵在工作中,泵中必須不斷地供給冷水,以冷卻和補充泵內消耗的水。供給的冷水以15℃為宜。 當SZ型水環式真空泵排出的氣體是廢氣時候,在排氣一端接有一水箱,廢氣和所帶的一部分水排入水箱后,氣體再由水箱的出管跑掉,而水就落入水箱的底部經回水管再回到泵內使用,如果循環時間長了便會發熱,這時需從水箱的供水處供給一定的冷水。
 |
1 |
葉輪 |
 |
a |
底腳 |
| 2 |
泵體 |
b |
真空度調節閥 |
| 3 |
水環 |
C |
進氣管 |
| 4 |
進氣管 |
d |
吸氣孔 |
| 5 |
吸氣孔 |
e |
橡皮閥 |
| 6 |
排氣孔 |
f |
排氣管 |
| 7 |
排氣管 |
g |
排氣孔 |
| u |
進水孔 |
由于在工作中,水會發熱,同時一部分水會和氣體一起被排走,因此泵在工作中必須不斷地供給冷水,以冷卻和補充SZ型水環式真空泵內消耗的水。 當SZ型水環式真空泵排出的氣體是廢氣的時候,在排氣一端接有一水箱,廢水和所帶的一部分水箱后,氣體再由水箱的出管跑掉,而水就落入水箱的底部經回水管再回到泵內使用,如果水循環時間長了便會發熱,這時需從水箱的供水處供給一定的冷水。 當壓縮機用時則在排氣一端要接上一氣水分離器,帶水的氣體進入分離器時便自動分開,氣體山分離器的出口送到需要的地方去,而熱水則經過自動的開關放出。(壓縮氣體時容易發熱,水由SZ型水環式真空泵處出來后便成了熱水),在分防離器的底部也要不斷地供給冷水補充被放走的熱水,同時起冷卻作用。
五、SZ型水環式真空泵性能參數:
| 型號 |
真空泵最大吸氣量m3/min |
壓縮機最大排氣量m3/min |
電機功率KW |
轉速r/min |
水耗量L/min |
最大真空度 |
最大壓力MPa |
泵重㎏ |
| 當真空度為 |
當壓力為(㎏/㎝2) |
真空泵 |
壓縮機 |
| 0 |
40 |
80 |
0 |
0.5 |
1 |
|
|
|
|
|
|
|
| SZ-1 |
1.5 |
0.64 |
0.12 |
1.5 |
1.0 |
- |
4 |
5.5 |
1440 |
10 |
84 |
1 |
140 |
| SZ-2 |
3.4 |
1.65 |
0.25 |
3.4 |
2.6 |
1.5 |
7.5 |
11 |
1450
1460 |
30 |
87 |
1.4 |
150 |
| SZ-3 |
11.5 |
6.8 |
1.5 |
11.5 |
9.2 |
7.5 |
22 |
37 |
970 |
70 |
92 |
2.1 |
463 |
| SZ-4 |
27 |
17.6 |
3 |
27 |
26 |
16 |
70 |
80 |
733
735 |
100 |
93 |
2.1 |
975 |
六、SZ型水環式真空泵外形安裝尺寸:
SZ-1外形安裝尺寸:


SZ-2外形安裝尺寸:

SZ-3外形安裝尺寸:

SZ-4外形安裝尺寸:

七、SZ型水環式真空泵說明:
SZ-1及SZ-2作SZ型水環式真空泵如(圖7)所示,作壓縮機如(圖8)所示,SZ-3作真空泵或壓縮機如(圖9)所示,SZ-4作真空泵或壓縮機如(圖10)所示,他們都由水環式真空泵(1),彈性聯軸器,電動機(2),氣水分離器(3),管路(4)及管路(5),溢水管(6)等組成。
SZ型水環式真空泵及壓縮機與氣水分離器的工作過程如(圖11)所示。氣體由管路(11)經閥門(2)進入SZ型水環式真空泵(1),然后經導氣彎管(10)進入氣水分離器或水箱(3)中,帶水的氣體在氣水分離器中分離開后,氣體再經閥門(9)送到需要的地方去,而水則留在水箱內,為了使箱內的水位保持一定而設有自動浮子開關(4),當水位升高時浮子升起放水閥被打開,水就從管(12)流出,當水位降低時浮子下落,放水閥被關死,這樣箱內的水便能保持著需要的水位。內水環的用水是由水箱供給的,供水量的大小靠連通管(6)上的閥門(7)調正。水由泵出來到水箱內,由水箱回到泵內,循環次數多了便會發熱,尤其壓縮氣體發熱更快,這樣就而要由管(5)向箱內注入冷水。有時排氣量超出需要時可將閥門(8)打開進行調解。
抽氣設備與壓氣設備的區別僅在于氣水分離器的構造有所不同,在第一種情況下,氣水分離器中的壓力等于大氣壓,在第二種情況下則等于排氣壓力,故多余的水通過浮子調整器從氣水分離內放走。
八、SZ型水環式真空泵安裝: 首先將SZ水環式真空泵安裝在泵座上,在安裝前先動手轉動一下聯軸器,以證實SZ水環式真空泵內有沒有卡住或其他損壞現象(整套泵的設備運抵安裝地點時,包裝已損壞或存放時受到潮濕,以及泵是在出廠后8個月再行安裝者,應在安裝前全部拆開檢查清理)。
電動機固定在泵座上以后,應校正電動機軸與泵軸的同心度,當用直尺平行放在聯軸器圓周上時,要求在整個圓周的任何位置都與聯軸器圓周密合沒有間隙,當聯軸器間的軸向間隙都相等的時候,則達到了所要求的同心度(參見圖12)。 電動機與泵軸,即使是極小的傾斜,也會引起軸承發熱和零件的過早磨損等嚴重后果,若安裝得正確時,當放松填料函后,用手就能輕便轉動泵軸。SZ水環式真空泵的進氣口處應加裝過濾裝置,以防顆粒狀物體進入泵內。
2、氣水分離器的安裝:
氣水分離器根據外形圖安裝在地基上。 若有必要改變安裝位置時,應注意分離器的聯結管路不得過長,轉彎不得過急,否則水和氣在管中流動損失必將增加,因此增加了泵排氣端的壓力,這樣就減低了流量和真空度,增加了功率消耗。
氣水分離器進口的管接頭與SZ水環式真空泵出口管接頭之間有一彎管(4)連接(圖8、圖9和圖10)
 帶有閥的管子(5)與泵及氣水分離器相聯結,由此將分離器中的水放回到SZ水環式真空泵內。分離器與供水管相連(圖中未畫出),供水管上裝有球形閥。供水管還和填料函的供水管(11)相連(圖4)。
3、泵與氣水分離器間的管路安裝。
泵的排氣管應與氣水分離器的進氣管相連,當作壓縮機使用時,氣水分離器的排氣管應通往利用壓縮空氣的機構上。
抽真空時,沒有排氣管路,空氣由分離器蓋上的孔排至大氣。
泵前面的進氣管路上應裝有閘閥,以便在停車時,防止SZ水環式真空泵內之水在排氣管方面的壓力作用下流向進氣管。
當壓縮機使用時,若使排氣管路保持一定的壓力,那么在氣水分離器的排氣管上也應安裝閘閥。
4、調節機構: SZ-3及SZ-4SZ水環式真空泵,若要求真空度流量在不大的范圍內變動,可用進氣口的大小來調整,空氣經過真空度調節閥(7)(圖9、圖10)進入泵的進氣室。
在SZ-1及SZ-2真空泵上也能用這樣的方法進行調整,而用裝于進氣管路上的閥來調整真空度和流量。
球形閥或任何一種形式的安全閥均可安裝在排氣管路上或氣水分離器上以便調節壓氣裝置的壓力。 壓縮各種氣體的裝置,根據其使用條件不許將這些氣體排出者,應在進氣管與排氣管之間將一個氣管(13)(圖11)其直徑與裝于其上的閘閥(8)直徑相同,以便在很大限度內調節氣量 。
1、向填料函和氣水分離器內注水。
2、當氣水分離器往外溢水時,開動電動機。
3、全開由氣水分離器向泵給水管路(6)上的球形閥(7)。
4、打開排氣管上的閘閥(9)。
5、打開進氣管上的閘閥(2。
6、用球形閥(7)調整由氣水分離器向SZ水環式真空泵水的水量,以便在所要求的技術條件下運轉,使功率消耗最小。
7、調整由進水管(5)向氣水分離器的送水量,以使用最小的水量消耗,保證泵所要求的技術規范。 8、調整向填料函的送水量,以便用最小的水量消耗而保證填料函的密封性,SZ水環式真空泵在極限真空度下工作量,由于SZ水環式真空泵內產生物理作用而產生爆炸聲,但功率消耗量并不增大 。隨著功率消耗的提高而產生的爆炸聲,表示泵發生了毛病,此時泵應停車。
九、SZ型水環式真空泵起動與停車:
(1)SZ水環式真空泵起動:
經過長期停車的SZ水環式真空泵在開動以前,必須用手轉動聯軸器數周,以便證實沒有卡住或損傷現象。
1.關閉進氣管上的閘閥(2)(圖11)。
2.如果排氣管上裝有閘閥(9)也應將其關閉。
3.向填料函和氣水分離器內注水。
4.當氣水分離器往外溢水時,開動電動機。
5.全開由氣水分離器向泵給水管路(6)上的球形閥(7)。
6.打開排氣管上的閘閥(9)。
7.打開進氣管上的閘閥(2)。
8.用球形閥(7)調整由氣水分離器向SZ水環式真空泵送水的水量,以便在所要求的技術條件下下運轉,使功率功耗最小。
9.調整由進水管(5)向氣水分離器的送水量,以便用最小的水量消耗,保證SZ水環式真空泵所要求的技術規范。 10.調整向填料函的送水量,以便用最小的水量消耗保證填料函的密封性,SZ水環式真空泵在極限真空度下工作時,由于SZ水環式真空泵內產生物理作用而產生爆炸聲,但功 率消耗量并不增大。隨著功率消耗的提高而產生的爆炸聲,表示泵發生了毛病,此時SZ水環式真空泵應停車。
(2)SZ水環式真空泵停車按以順序:
1.關閉進氣管上的閘閥(2)(圖11)。
2.關閉排氣管上閘閥(9)。
3.關閉電動機。
4.停止向填料、氣水分離器內注水。
5.當氣不分離器溢水管停止向外溢水后,關閉向泵注水管路。
6.上緊球形閥。
7.如泵停車時,必須擰開泵及氣水分離器上的管堵把水放凈。
十、SZ型水環式真空泵拆卸與裝配:
1. 拆卸 SZ水環真空泵的拆卸分為部分拆卸檢查并清洗,和完全拆卸修理及換零件,在拆SZ水環真空泵前應將泵中的水從放水孔放出,并應將管子(11)(圖4)及管子(5)(圖10)取下。在拆卸時應將所有的墊謹慎地取下,如發生損壞應在裝配時更換同樣百度的新墊。SZ水環真空泵應從不裝有聯軸器的一端開始拆卸,其順序如下:
(1)松開并取下軸承蓋(14)(圖3)。
(2)松開滾動軸承,先用鉤板手將圓螺母(9)擰下。
(3)取下壓緊填料壓蓋用的螺帽。
(4)由左側蓋的一邊將軸承架(7)松開,同時轉動二個拆卸螺釘(方頭圓柱端螺釘),將軸承及軸承架一起從軸上取下。 (5)使側蓋上的進氣管和管子(10)脫開并松開示體與側蓋(2)的連接螺釘和泵腳處的雙頭螺栓。在泵體下加墊,然后使側蓋和泵體離開,從軸上取下側蓋(側蓋取下后應將軸支住)。 (6)使SZ水環真空泵體與另一側蓋離開,并由軸上取下。SZ水環真空泵的部分拆卸至此為止,此時泵的工作部分及各個另件可進行檢查及清洗,進一步的拆卸應按下列順序繼續進行
(7)切除電動機與電路的連接,松開電動機與底座連接,并與SZ水環真空泵分開。
(8)利用鉤板手等拆卸工具,自軸上取下聯軸器。
(9)從軸上取下聯軸器的鍵(15)。
(10)取下軸承蓋。
(11)取下定位圈(16)(圖3)或取下圓螺母(圖4)松開滾動軸承。
(12)取下填料壓蓋的壓緊螺帽。
(13)按照第4條將右邊的軸承架和軸承一起取下。
(14)將軸(4)和葉輪(6)一起從SZ水環真空泵體中取出
(15)從軸上擰下軸套螺母(17)并以下軸套(18)。
(16)從軸上取下葉輪。
2.SZ型水環式真空泵裝配:
裝配前應清洗殘留在結合面上的執并仔細擦干涂上機油。
所有配合面和螺紋處應仔細擦凈舉措上機油。
清除軸承和軸承架內的舊油并加上新油。
舊墊損壞需要更換新墊時,厚度應該相同,裝配順序與拆卸順序相反。 裝配時最主要的是調整葉輪端面和側蓋的間隙,在兩邊總的間隙對開SZ-3及SZ-4不得超過0.4毫米,對SZ-1及Z-2不得超過0.3毫米。間隙由泵體(1)和側蓋(2)之間加墊取得,葉輪兩端間隙應該均稀,可擰軸套螺母(17)以移動葉輪來保證。
相關產品推薦:
2BV型水環式真空泵 2BEC型水環式真空泵 2SY型水環式真空泵 SK直聯型水環式真空泵
SKF型水環式真空泵 |